登录| 注册    
收藏  点赞 

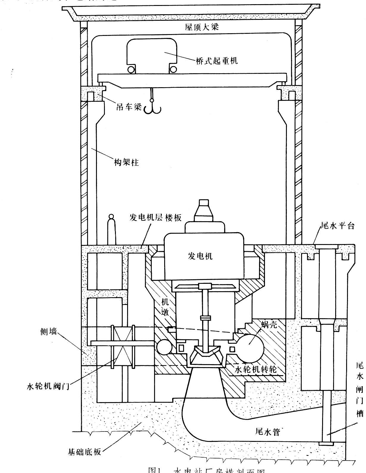
水电站厂房

设有发电机、调速器等机电设备和机墩、蜗壳、等结构物,以实现把水能转变为电能过程的综合体(图1)。它是水电站电能生产的中心。厂房的位置 水电站厂房位置选择除必须考虑地形、地质、水文及对外交通等条件外,还应满足以下要求:①将水流平顺地引入水轮机,并从水轮机顺畅地泄走。

设有发电机、调速器等机电设备和机墩、蜗壳、等结构物,以实现把水能转变为电能过程的综合体(图1)。它是水电站电能生产的中心。

厂房的位置 水电站厂房位置选择除必须考虑地形、地质、水文及对外交通等条件外,还应满足以下要求:①将水流平顺地引入水轮机,并从水轮机顺畅地泄走。为此,水轮机阀门、蜗壳、尾水管及尾水渠等必须布置协调;②给机电设备的安装、检修和运行提供良好条件;③要注意采光、通风及防止有害的振动和噪音等,为运行人员提供良好的工作条件;④满足防淹、防火、防潮、防震、防空、防噪音及防雷等的要求。

图1 水电站厂房横剖面图

水电站厂房分为主厂房和副厂房。

主厂房 指安置有水轮机、发电机及其主要辅助设备(包括油、水、气系统)的厂房。主厂房在横剖面上划分为上部结构和下部结构。发电机层以上称上部结构(或称主机房),发电机层以下称下部结构。上部结构一般和工业厂房基本相似,即由构架、梁、板、柱和吊车梁等组成。下部结构的主要组成部分是机墩、蜗壳、尾水管、基础底板、侧墙、集水井和廊道等。它受水轮机布置方式的影响很大。主厂房在纵向分为装配场(安装间)和若干个机组段。装配场是机组主要部件的安装检修场所。根据机组台数不同,其长度等于或略大于一个机组段长度。应有铁路或公路直达安装场,以利于设备的运输。机组段是指一台机组(包括该机组的辅助设备)所占据的空间。在机组段与装配场之间,往往设置沉降伸缩缝,有时机组段之间也需设置沉降伸缩缝(图2)。

图2 水电站主厂房平剖面图

副厂房 是指布置配电装置、控制设备、直流系统、通讯设备、水力机械辅助设备以及检修、试验、管理等用房。它的位置可以在主厂房的上游侧、下游侧或一端。在副厂房布置设计中,首先要安排好中央控制室、配电装置室、直流系统室、水力机械辅助设备等直接生产用房。副厂房的建筑面积和房间数目,可视电站规模的大小予以增减或简化合并。

图3 河床式厂房横剖面图

厂房类型 水电站厂房按其主要结构特征可以分为以下基本类型:①河床式厂房,位于河床中直接承受上游水压力,即厂房本身又是挡水建筑物(图3)。②河岸式厂房,位于河岸,不承受上游水压力,与坝体无联系。③坝后式厂房,位于坝脚处,厂房与坝连成一体或用缝隔开。④地下厂房,布置在地下洞室中。

图4 地下厂房横剖面图

图5 露天式厂房横剖面图

图6 坝内式厂房横剖面

图7 溢流式厂房横剖面图

它对防空有利,在良好的地质条件下,往往也是经济的(图4)。由于地下结构的设计理论和施工技术的发展,地下厂房日益显示其优越性。⑤露天式厂房,是用特制的保护罩取代上部结构的厂房,也叫低厂房(图5)。⑥坝内式厂房,布置在坝体内部(图6)。⑦溢流式厂房,是坝后式厂房的一种,主厂房布置在溢流坝段后,水流通过厂房顶下泄(图7)。当坝址河谷狭窄而泄洪流量又较大时,可考虑采用坝内式或溢流式厂房。