登录| 注册    
收藏  点赞 

带土苗育秧设备

水稻育秧设备的一种。为提供规范化的带土秧苗,采用全套的设备进行工厂化育秧,供带土苗插秧机使用。

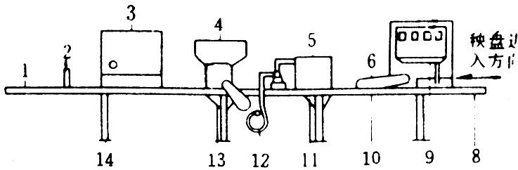
水稻育秧设备的一种。为提供规范化的带土秧苗,采用全套的设备进行工厂化育秧,供带土苗插秧机使用。根据带土苗育秧工艺流程,配置的育秧设备主要有:稻谷播前处理用的选种、脱芒、浸种、消毒、催芽与脱水设备;床土加工用的采土、干燥、粉碎、筛选、调酸、拌肥料和农药等,以及床土的堆放和运输设备;能一次完成放置床土、播种、覆土、浇水及秧盘的准备和输送等作业的播种作业流水线;出芽处理所需的台车和温湿度控制设施;绿化和炼苗所需的保温塑料大棚和自动浇水设施等。采用这些设备不仅可以提高劳动生产率,而且由于整个育秧过程在人工控制环境下进行,便于获得秧苗所需合理的温、湿度等环境条件,排除了由于气候异常在育秧期引起低温烂秧的可能性,保证出苗率达95%以上,从而获得均质的可供机械化插秧的规范化秧苗,但秧龄期不宜过长。

稻谷播前处理设备

与一般育秧方法用的设备基本相同,如在水槽中进行选种、浸种、消毒等。不同的是为种子的浸种催芽配置了专用破胸催芽器。用于控制水温及氧气的供给,借以缩短出芽期、提高发芽率、防止烂芽烧芽。它由电机及水泵、加热器、控温仪组成。按浸种池的供氧方式分两种形式:一种是由水泵将浸种池中的水泵入加热器加温后,在泵回浸种池的过程中,于泵的出口处装置混气阀,使一定数量的氧气混入水里返回池中,空气混入量可达10~12升/分;另一种是采用喷头装置向浸种池喷射水流,使池中增加氧气。这两种供氧方式均需温控仪控制水温,使种子能在最适宜的温度及充分供氧的情况下发芽,加快种子的发芽速度和整齐度。

床土加工设备

用于对床土采取粉碎、过筛、消毒、调整、添加物料等措施,控制育带土苗所用床土的粒度、成分、酸碱度,防止因床土不合格而产生种子发芽不良,产生立枯病等现象。主要设备有碎土筛土机、土肥混合机等。

碎土筛土机

由上层的碎土机及下层的筛土机组合而成,分别由电动机带动。碎土机的碎土部件为带钉齿的滚筒,以每分钟约1000转的速度使土块粉碎。筛土机的筛网由曲柄连杆机构带动产生往复运动,使粉碎后床土中的混杂物及大泥块从筛面被筛出,粒度不大于6毫米的床土通过筛网供床土箱用。调整连杆长度以改变筛子振幅可调节筛土量。夹杂物的排出量可通过调整拉杆,改变机架倾斜度进行调整,增大倾斜度使夹杂物出口降低,即可增大夹杂物排出量。

土肥混合机

用于拌床土、农药、肥料等。常用的有回转式搅拌机和刮板式搅拌机两种(图1)。回转式搅拌机由电动机驱动使拌和筒旋转,筒内多块导向拌泥板不断搅拌筒内物料,使土壤和农药、肥料等拌和均匀。拌和时,可通过手轮驱动蜗轮蜗杆使拌和筒在20°范围内倾斜,以提高拌和均匀度。拌和3分钟后,即可操纵手轮倾倒拌和筒,由输送带将倾倒出的拌和物送至床土箱供播种时使用。拌和筒容积一般为0.17米3,其转速为25转/分,效率约2.04米3/小时。刮板式搅拌机的拌和筒不回转,由电动机驱动筒内搅拌臂带动刮板回转搅动物料,拌和2~3分钟后,操纵手柄使排出口打开倒出拌和物供使用。拌和筒有效容积一般为0.25米3,其转速为34转/分,效率约为3米3/小时。

图1 土肥混合机

播种作业流水线

带土苗育秧的核心设备,由机架、输送带、床土铺放装置、喷水装置、播种装置及覆土装置等组成(图2)。能在输送带上一次完成在育秧盘内铺放床土、喷水、播种、覆土作业。秧盘由电机驱动的一组同步三角带输送,通过床土箱下方时,经粉碎与处理过的床土由床土箱底部的滚轮或带齿胶带排出,铺放于秧盘底层。然后由刷土器的旋转毛刷滚轮将秧盘内多余床土刷出以控制秧盘内床土厚度。秧盘继续前移经过喷水装置将床土淋湿,再前移至播种装置进行播种。播种机的排种部件为直齿槽辊,通过槽辊与毛刷板间的间隙调节播种量。种箱接受的种子应经破胸露白、脱芒、脱水处理,以保证播种质量。当秧盘在铺放床土、喷水、播种后,覆土装置在种子表面再覆盖一层5~7毫米的床土。其结构与床土铺放装置相同。这种播种作业流水线需要6~7人操作,即加装秧盘1人,为床土箱装土1人,操纵电器控制箱,调整床土厚度,喷水量、播种量和添加种子需1人,在覆土装置内加土1人,从传送带将完成播种的秧盘取下并送至出芽室2人。整个流水线的生产率为500盘/小时。

图2 播种作业流水线

播种作业亦可采用一次完成播种、喷水、覆土三项作业的机组,或一次完成播种、喷水两项作业的机组,其他作业由人工辅助。这样,虽劳动量耗费增多,但可降低作业成本,减少设备投资。

发芽用设备

为破胸后的水稻种子创造适宜温湿度,从而加快种子出芽。常用的是蒸汽出芽室,它由保温被(或保温房)、框架、台车、温湿度控制设施等部分组成。温湿度控制设施有两种形式:一种由燃烧室、送热风机和温控连动系统等部分组成。燃烧室一般采用煤油为燃料,油耗约0.24~4.8升/小时,总发热量44兆卡/小时,送热风机采用有压换气扇,一般功率40瓦,风量为80米3/分。当温度低于控制温度值时,燃烧室即自动点火使发芽室增温至达到温度控制值上限时,自行熄火。每台设备适用的发芽室面积为495米2。另一种由加湿器和电控箱组成。加热加湿器以控制自身水盆中水位的方式分有杠杆式、真空式和浮子式。电控箱根据出芽室内温度控制电热管电源的启闭,达到控温的目的。能放置1000盘左右的蒸汽出芽室的加热加湿器的功率为7千瓦。

发芽用台车和绿化用台车结构基本相同,均为框架式结构组成,下设小轮以便移动。发芽台车每台可置秧盘120个,秧盘尺寸根据带土苗尺寸而定,中国采用的秧盘规格有280×580毫米及220×580毫米两种。绿化台车每台放置的秧苗盘,有76盘与40盘两种,分别为双排和单排放置。

绿化与炼苗用设备

主要是塑料大棚。在绿化时,棚内保持的温度白天为20~25℃,夜间在15℃左右。炼苗时,可将大棚塑料薄膜打开,只要不是低温影响幼苗生长,棚内温度可与大气温度基本一致。塑料大棚的形式及结构与种植蔬菜用的温室大棚基本相同。