登录| 注册    
收藏  点赞 

风送液力喷雾机

借助风机产生的气流辅助输送雾滴的液力喷雾机。药液先经液泵输送至喷头,在液力作用下雾化成雾滴,再经风机的高速气流二次雾化成更细小雾滴,并输送至目标物。风送液力喷雾机操纵的自动化程度较高,射程较远,雾滴直径一般为80~120微米,适用于大面积病虫害防治。类型通常分为大田型和果园型两大类,主要有牵引式、悬挂式、自走式等机型。大田型既可以进入田间作业,也可以在道路上边行走边喷洒。

借助风机产生的气流辅助输送雾滴的液力喷雾机。药液先经液泵输送至喷头,在液力作用下雾化成雾滴,再经风机的高速气流二次雾化成更细小雾滴,并输送至目标物。风送液力喷雾机操纵的自动化程度较高,射程较远,雾滴直径一般为80~120微米,适用于大面积病虫害防治。

类型

通常分为大田型和果园型两大类,主要有牵引式、悬挂式、自走式等机型。

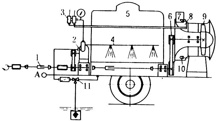
大田型既可以进入田间作业,也可以在道路上边行走边喷洒。该机射程远,覆盖面积大,生产效率高。图1是大田型悬挂式风送液力喷雾机典型结构,A、B为悬挂点。拖拉机动力输出轴经万向节轴及变速装置分别传动液泵与风机,喷头喷出的雾滴随气流从轴向收缩型圆筒喷口喷出。

图1 大田型悬挂式风送液力喷雾机

果园型在果树林间边行走边喷洒,风机吹出的气流不仅使树叶翻转有利于叶背叶面受药,而且能增加雾滴对果树叶丛的穿透能力。此机生产率高,适用于大面积果园病虫害防治。图2是果园型牵引式风送液力喷雾机典型结构,A为牵引点。拖拉机的动力输出轴通过万向节轴、变速装置分别驱动液泵及风机运转,喷头喷出的雾滴从径向辐射扁平型喷口随气流喷出。

图2 果园型牵引式风送液力喷雾机

基本工作部件

包括:①液泵。产生供喷头一次雾化以及药液箱的液力搅拌的液压能,液泵也可兼作药液箱加水泵。常用液泵有自吸离心泵、柱(活)塞泵、隔膜泵、滚子泵等。液泵工作压力约为480~980千帕,排量约为30~150升/分。②风机。多数采用风量大、风压低的轴流风机,但也有采用离心式风机的,以增强二次雾化及喷洒雾滴的动能。③喷洒部件。除轴向圆筒喷口或径向扁平喷口外,还有按一定规律排列在喷口处的旋水芯喷头或其他类型圆锥雾喷头。④喷雾控制阀。用以控制喷雾量大小。⑤吸液控制阀。用以改变泵的吸液路线。当向药液箱灌水时,可使液泵从水渠中吸水;当喷雾作业时,使液泵从药液箱中吸液。⑥喷洒方向调节装置。有转盘式、挡板式以及多歧管喷管等;调节操纵方式有机械式、液压式以及电气自动操纵控制等。⑦液箱。容量一般为500~1000升,最大可达2000升以上。⑧药液搅拌装置。有机械式、液力冲击式、液力射流式等。

发展趋势

大田型风送液力喷雾机正向悬挂式高风速大功率方向发展。在有些国家已出现超高速悬挂喷雾机,液泵采用活塞隔膜泵;风机采用离心式风机,直径达990毫米,出口风速高达123米/秒,纵向射程30米以上。液泵和风机由拖拉机动力输出轴驱动,配套功率44千瓦,采用多歧管喷口,以利于沿射程雾量分布均匀,液压调节喷洒方向,操纵自动化程度较高。果园型风送液力喷雾机正向低地隙自走式方向发展,缩小机具外型尺寸并降低机具重心,减小转弯半径提高机具在果树行间及坡地的通过性。有些国家已生产有四轮驱动、六轮驱动的自走式风送液力喷雾机,有行走动力与机组工作动力分开的分置型,也有两者合用的结合型,风机采用轴流式,液泵采用三缸柱(活)塞泵,采用径向辐射式扁平喷口,操纵自动化程度较高,一人驾驶操纵。为避免浪费农药和污染环境,果园型正由连续喷雾向间歇喷雾发展,以节省农药。