登录| 注册    
收藏  点赞 

六分量测力装置

用于测量犁体、圆盘耙片等耕作阻力的六个分量的专用装置。这些耕作部件工作时承受的土壤阻力为一空间力系,可分解成沿着三个互相垂直的坐标轴的三个力和三个力偶矩共六个分量。测量六个分量的装置有悬架式、管式、管梁式等几种型式。悬架式悬架式六分量测力装置如图1。将被测犁体安装在一个专门的测力架上,测力架由6个测力传感器所支持。根据传感器测得的数据,经整理后可简化为耕作阻力的各种表达形式。

用于测量犁体、圆盘耙片等耕作阻力的六个分量的专用装置。这些耕作部件工作时承受的土壤阻力为一空间力系,可分解成沿着三个互相垂直的坐标轴的三个力和三个力偶矩共六个分量。测量六个分量的装置有悬架式、管式、管梁式等几种型式。

悬架式

悬架式六分量测力装置如图1。将被测犁体安装在一个专门的测力架上,测力架由6个测力传感器所支持。根据传感器测得的数据,经整理后可简化为耕作阻力的各种表达形式。这种测量装置的优点是可以根据六个分量的不同量值,设计或选用不同规格的传感器,以提高测量灵敏度。缺点是结构较为复杂、重量较大。

图1 悬架式测力装置

管式

在薄壁圆管表面的适当位置上粘贴若干电阻应变片,并按一定方式连接成桥路,测出圆管某一截面上的内力,然后简化为犁体耕作阻力。按薄壁圆管测力传感器配置的形式分有卧管式和立管式两种。

卧管式

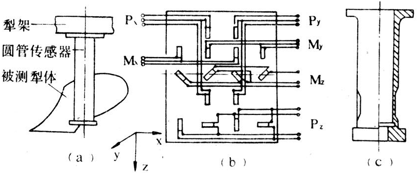
在一个专用犁架上安装两个犁体,第一个为开墒犁体,第二个是被测犁体,它通过卧式圆管传感器固定在犁架上[图2(a)]。圆管表面粘贴6组电阻应变片,组成6个测量回路,分别测出O—O截面上的六个分量:Px、Py、Pz、Mx、My、Mz,其布片和接桥方式如图2(b)。卧式薄壁圆管传感器是纵向水平配置,起到部分犁架的作用,传感器悬臂端可装上同一系列不同类型的犁体,由于传感器所处的位置较高,有利于防尘、防泥、防水,适用于水田犁的测定。如果只测定犁体工作面的阻力,可将犁体的犁侧板卸去,装上一个直接固定于犁架的专用犁侧板,经过适当调整,可保证待测犁体按设计状态工作。

图2 卧管式测量装置

立管式

用圆管传感器代替犁柱[图3(a)],一端与犁托连接,另一端与犁架连接。传感器的布片和接桥方式如图3(b)所示。由于犁体工作阻力的垂直分量Pz较小,因此在Pz测量回路贴片处将管壁减薄[图3(c)],可提高测量灵敏度。立管式配置的优点是使用方便,能安装在现有的犁架上同时进行几个犁体的测量,但垂直力的测量灵敏度较低。

图3 立管式测量装置

管梁式

薄壁圆管直立配置,上端通过一根弹性横杆与机架连接,在横杆上粘贴一组电阻应变片测量犁体垂直阻力,在薄壁圆管表面上粘贴五组应变片测量犁体阻力的其余五个分量(图4)。管梁式测力装置的优点是提高了垂直力的测量灵敏度,也可用于测量圆盘耙片的工作阻力。

图4 管梁式测量装置