登录| 注册    
收藏  点赞 

手摇喷粉器

装有手摇风扇的喷粉器。借助于风扇产生的气流,将粉剂农药均匀地喷撒到目标物上。由于有机氯粉剂农药价格低廉,使用简便,效率高,在20世纪30年代,许多国家先后研制各种型式的手摇喷粉器投入使用。中国于50年代开始投入批量生产。手摇喷粉器可分为胸挂卧式、胸挂立式、背负式和手持式等几种,其结构简单,由粉箱、风扇、齿轮箱、输粉器、粉门开关以及喷管、喷头等部件组成。

装有手摇风扇的喷粉器。借助于风扇产生的气流,将粉剂农药均匀地喷撒到目标物上。由于有机氯粉剂农药价格低廉,使用简便,效率高,在20世纪30年代,许多国家先后研制各种型式的手摇喷粉器投入使用。中国于50年代开始投入批量生产。

手摇喷粉器可分为胸挂卧式、胸挂立式、背负式和手持式等几种,其结构简单,由粉箱、风扇、齿轮箱、输粉器、粉门开关以及喷管、喷头等部件组成。

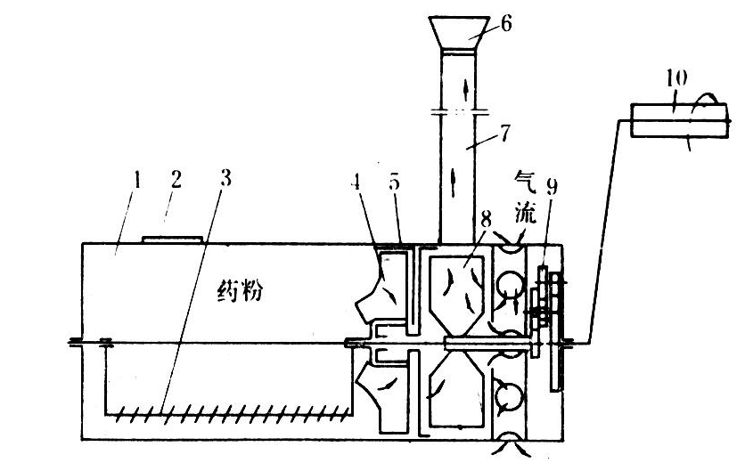
胸挂卧式手摇喷粉器的结构如图1,左端为粉箱,其容积为5升,粉箱内安装搅拌架,可防止药粉架空。输粉器为圆盘形,可以均匀地将粉箱内的药粉送入风扇内。粉门开关盘可以调节出粉量大小。齿轮箱在桶身的右端。在靠近风扇处的桶身上开有圆形进气孔。当手柄的转速为36转/分时,风扇叶轮转速可达1600转/分,出口风速为10~12米/秒,喷粉量为0.3~0.5升/分。

图1 胸挂卧式手摇喷粉器

胸挂立式手摇喷粉器的结构如图2,筒身呈圆筒形,粉箱容量为5升,使用时筒身竖立在胸前。粉箱上部为圆柱形,下部呈圆锥台形,可防止药粉架空。输粉器和风扇叶轮都安装在齿轮箱的输出轴上,当转动手柄时,风扇叶轮与输粉器同时旋转,输粉器可将粉箱内药粉送到出粉口。齿轮箱内有两对齿轮,传动比为31,筒身上开有圆形的风扇进气孔。喷粉量为0.5升/分,出口风速为10~12米/秒。

图2 胸挂立式手摇喷粉器

背负式手摇喷粉器作业时机具背在身后,粉箱容量为7~10升,出口风速为10~12米/秒。齿轮箱在身后通过链传动到胸前,结构较复杂。

手持式手摇喷粉器药箱容量为0.4升,出口风速为3~4米/分。使用时一手握住把手,一手摇动手柄。适用于庭院。

手摇喷粉器几种型式的工作原理基本相同,作业时转动手柄,经增速传动装置,风扇叶轮高速旋转,产生一股强气流,使粉箱内的粉剂通过输粉器及粉门开关孔进入风扇壳内,与空气混合后经喷粉管和喷粉头喷出。由于射程只有2米左右,效率低,只宜用于小块地作物、庭院、苗圃、幼龄及矮小果树的防治作业。今后随着农药向高效、低毒、低残留,经济方便的微粒剂型发展,手摇喷粉器有可能改型后,兼用于撒布颗粒药剂和颗粒肥料。