登录| 注册    
收藏  点赞 

水果加工设备

巴氏消毒法,奠定了现代水果加工工业的基础。1869年美国的威尔克(Welch)、1876年德国的魏特尔汉(Wetterhahn)和1892年意大利的普拉托(Giovanni a Prato)分别制造了经巴氏杀菌的首批工业化果汁饮料。1896年瑞士人谬勒—屠尔高(Müller-Thurgau)制成了具有高营养价值的果汁饮料。第二次世界大战后,水果加工工业迅速发展,已经成为现代食品工业的重要组成部分。

将鲜水果加工成果汁、果酱、果脯和蜜饯、果酒、罐装水果及果干等制品所需各种设备的总称。用于加工的鲜水果主要有柑桔、山楂、苹果、猕猴桃、黑加仑、刺梨、菠萝、葡萄、枇杷、荔枝、杨梅、海棠、桃、杏、李等。

发展简史

19世纪中叶以前,水果加工制品主要是果酒和少量的果脯、蜜饯和果干,生产规模基本上是手工作坊式,仅有极少数半机械化操作的简陋机器。19世纪60年代,巴斯德(Louis Pasteur)发明巴氏消毒法,奠定了现代水果加工工业的基础。1869年美国的威尔克(Welch)、1876年德国的魏特尔汉(Wetterhahn)和1892年意大利的普拉托(Giovanni a Prato)分别制造了经巴氏杀菌的首批工业化果汁饮料。1896年瑞士人谬勒—屠尔高(Müller-Thurgau)制成了具有高营养价值的果汁饮料。第二次世界大战后,水果加工工业迅速发展,已经成为现代食品工业的重要组成部分。水果加工设备也不断地朝着自动化、大型化和高效、优质、低能耗、低成本的方向发展。

工艺程序及设备类型

主要加工工艺程序包括选果、分级、清洗、去皮、除核、破碎、切块、打浆、细磨、蒸煮、发酵、乳化、杀菌、脱气、灌装等。相应采用的各种设备有:清洗设备、分选设备、预加工设备(除柄机、除核机、去皮机、切片机)、打浆机、破碎机、预煮设备、榨汁机、过滤设备、混合设备、均质机、杀菌设备、浓缩装置、干燥设备和芳香物提取设备,以及包装、充填(灌注)、封口、贴标签、装箱等设备。

清洗设备

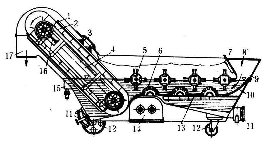
清洗水果表面的尘土、农药残留物和其他杂质的设备。一般采用浸泡和喷淋等方法对水果进行间歇或连续清洗。常用的有鼓风浮选槽、清洗—除石设备、鼓风式清洗机、刷式清洗机和螺旋叶片式清洗机等。图1是刷式清洗机的工作原理图,这类机器常用于清洗苹果、梨和其他仁果类和核果类水果。

图1 刷式水果清洗机工作原理

分选设备

根据生产工艺要求对水果进行分选的设备。有振动筛、浮选槽、绳索分选机、辊式分选机和滚筒式分选机等。可按水果个体尺寸进行分选,如需按颜色、成熟度或损害程度来剔除不符合加工要求的水果,只能在输送带上或捡选台上用手工进行挑选。五级水果绳索分选机的主体是倾斜放置的绳索床。绳索与水果运动方向平行配置,并按不同的绳索间距分成四段。由进入端至出口端逐段加大。水果在沿床面滚动过程中按尺寸大小依次落到绳索床下面的托板上,分别滚向各自的出口,最大的一级水果则由床面的一端滚出。由于绳索是柔性物体,所以这类机械对水果造成的机械损伤较小。

水果除核机

有多种型式。体积较大的核果类水果如桃、杏、李等的除核,常用剖分式除核机,它的主要工作部件是剖分刀,把水果剖分成两半。柔软而多果肉的小型核果如樱桃等的除核,常用推杆—支承窝板式除核机,它的工作步骤是:把水果铺放在支承窝板的半球形窝孔中,然后降下除核推杆,将果核经支承窝板的小孔推入收集室中;再翻转支承窝板,已除去果核的果肉就经出口离开除核机。有些除核机采用间歇运动的旋转滚筒,滚筒表面配置支承窝,水果经输入装置和分配装置被铺放在支承窝上;当水果运动到滚筒上方时,滚筒停止转动,推杆降下除核;滚筒继续旋转,果肉经出口离开除核机。这类机器除核效率高,但果肉损失率也比较高。

水果去皮机

常用的有碱液去皮机和干式去皮机。在碱液去皮机中有一条回转输送装置。剖分去核的水果(如桃子)切面朝下放置在输送带上,运动到预热区受到蒸汽的喷淋预热,继续前进到淋碱区,受到高温稀碱液喷淋腐蚀,再行进到冲洗区,受到高压冷水喷射,果皮被冲去,果肉受冷却。这种去皮机效率比较高,但用水量大,并且污染环境。干式去皮机(见薯类加工机械)适合于桃、杏、巴梨、苹果等水果的去皮作业。水果先经碱液处理,表皮已松软,然后进入干式去皮机中。在重力作用下向下移动,将橡胶圆盘压弯,在水果和圆盘表面之间形成接触面。由于圆盘转速大于水果下降速度,产生相对运动而摩擦去皮,去皮水果从出口卸出。干式去皮机用水量较小,但只适用于硬果肉的水果。

水果打浆机

把果皮和果核从果肉和果汁中分离出来的机械,主要用于果酱生产。它的工作部件为一个固定的圆筒筛,筒中心的一根转轴上按螺旋线排列2~4块刮板。刮板和圆筒筛都是用不锈钢制成的。工作时,水果进入圆筒筛,在旋转刮板产生的离心力和推力的作用下,随刮板在圆筒筛表面上螺旋地向出口端移动。在移动过程中,水果被擦碎,果肉和果汁从筛孔中流出筒外,果皮和果核从出口端排出。

水果破碎机

把水果破碎成符合加工要求的小块的机械。常用的有齿辊式、锤式、齿爪式、孔板式和齿刀式破碎机以及平板磨和齿盘磨等。常用于仁果类水果的齿刀式水果破碎机工作时,水果从进口处落入齿刀筒内。齿刀筒是一个下半部分镶嵌着许多齿形破碎刀的固定圆筒。圆筒内有一根装有3块打击板的旋转轴。由于打击板的转速高达1600转/分,因此水果被高速甩向齿刀筒,被齿刀破碎成块,并从齿刀与齿刀筒之间的间隙中落出机外。更换不同齿形的刀片可以改变水果的破碎度。锤式水果破碎机是用高速旋转的锤片把水果抛向圆筒筛,被圆筒筛破碎后落出机外。齿辊式水果破碎机为两平行轴上的齿盘啮合时,把水果破碎。胶体磨式水果破碎机为水果落入两片旋转的磨盘间被磨碎。

水果预煮设备

用以破坏水果中酶的活性和排除水果中的水分与空气等的设备。常用的有夹层锅、链带式和螺旋式连续预煮设备等。夹层锅是最简单的水果预煮设备,把水果放入锅内,在锅底夹层中通入蒸汽,便能达到预煮的目的。

水果榨汁机

用压榨的方法把水果的液汁与固体物质分离的机械。常用的有裹包式、罐笼式、内气鼓式、活塞—带式、螺旋式、压气式和偏心式榨汁机等。裹包式榨汁机是把破碎后的水果(果浆泥)包裹在榨汁布中,码成一层层面积相同,厚度相似的挤压层,各层之间均用金属隔板隔开。然后施加外力(一般为液压力)挤压果浆泥,榨出果汁。裹包式榨汁机的榨汁压力可达2.5~3千帕,料层厚度为10~30毫米。它的出汁流程很短,压力很高,因此出汁率高,且结构比较简单,操作方便,但属间歇作业,自动化程度低。带式榨汁机(图2)主要工作部件是两根用聚酯材料制成的回转封闭式榨汁带。果浆泥从进料口进入水平放置的预排汁区,在重力作用下,大部分果汁在预排汁区经聚酯带被滤出。剩余的果浆泥经楔形开口进入截面逐渐变小的垂直排汁区、压纹滚筒榨汁区和由挤压滚轴组成的S形榨汁区,在运动过程中进行榨汁,残渣最后经出渣口排出机外。该机自动化程度高,出汁率较高,但成本高,保养较复杂。

图2 带式榨汁机工作原理

果汁、果酒过滤设备

用于清除果汁或果酒中的各种固体浑浊物的设备。常用的有板框式、硅藻土滚筒式、盘式硅藻土式、烛式、真空式、单室离心式、多室离心式、碟形离心式和螺旋离心式等过滤机。图3为板框式过滤机的工作原理图,浑浊果汁或果酒从进液口进入,被过滤层过滤,浑浊物留在机内,澄清果汁或果酒从出液口流出机外。常用的过滤层材料为石棉、珠光岩、硅藻土、天然纤维或它们的混合物。

图3 板框式过滤机工作原理

果汁均质机

用于破碎果汁制品中的固体颗粒,使相互不可溶的液体和固体物质形成均匀的乳状混合液的设备。常用的水果均质机有胶体磨和柱塞式均质机,此外还有离心均质机、超声波均质机、盘式研磨机和喷射式均质机等。柱塞式均质机由带吸入阀和压出阀的柱塞泵以及带均质阀的均质头等组成。当柱塞向左移动时,吸入阀吸入果汁;柱塞向右移动时,吸入阀关闭,柱塞对果汁施加的压力达到10~30兆帕,打开压出阀,果汁进入均质头,从阀座和阀心的间隙高速喷出,果汁被均质,转动手柄可以改变阀座与阀心的间隙,以调整均质压力。

果汁杀菌设备

分为巴氏杀菌设备和高温杀菌设备两种。常用的巴氏杀菌设备有列管式、板式、管式等热交换器;常用的高温杀菌设备有立式或卧式杀菌锅、回转式杀菌设备、常压连续杀菌设备等。

果汁浓缩装置

果汁是热敏感物料。浓缩果汁便于保存,并可减少原果汁的重量和体积,便于运输。常用的果汁浓缩装置有管式浓缩装置(真空或常压)、板式浓缩设备(一级或两级,真空或常压)、转动式薄膜浓缩设备、径流式浓缩装置、离心式浓缩装置和旋转螺旋管式真空浓缩设备等。绝大部分现代果汁浓缩装置均与芳香物回收装置组合使用。对不可逆渗透膜式浓缩装置和深冻浓缩装置,适用于对果汁的营养成分和产品感官质量要求较高的浓缩果汁。常用的果酱浓缩设备为夹层锅、真空浓缩锅等。

水果干燥设备

果精(晶)、果汁粉是用果汁经浓缩、干燥制成的固体饮料,中国一般采用加热浓缩干燥工艺。固体水果饮料用的干燥设备有压力喷雾式、离心喷雾式、真空泡沫式、泡沫层式和辊轴式干燥装置等。果脯和干果干燥设备有热空气、远红外、微波、冷冻升华和沸腾床干燥装置等。