登录| 注册    
收藏  点赞 

送秧机构

将秧箱内的秧苗从横向或纵向定量均匀地送往分插机构取秧位置的装置。横向指与插秧机前进方向相垂直的方向;纵向指与插秧机前进方向平行的方向。纵向送秧机构简称送秧器;横向送秧一般采用往复移动秧箱的方法,故横向送秧机构又称为移箱器。移箱器分插机构自秧门处按一定取秧面积(取秧宽度×取秧深度)取出秧苗后,秧箱横移相当于取秧宽度的距离,使秧门处得到秧苗补充。

将秧箱内的秧苗从横向或纵向定量均匀地送往分插机构取秧位置的装置。横向指与插秧机前进方向相垂直的方向;纵向指与插秧机前进方向平行的方向。纵向送秧机构简称送秧器;横向送秧一般采用往复移动秧箱的方法,故横向送秧机构又称为移箱器。

移箱器

分插机构自秧门处按一定取秧面积(取秧宽度×取秧深度)取出秧苗后,秧箱横移相当于取秧宽度的距离,使秧门处得到秧苗补充。秧箱从一端极限位置开始移动,至另一端极限位置时,即一排秧苗被依次取完后,或直接返回(拔取苗)或停歇一次再返回(带土苗),如此作周期往复移动。

移箱器按与分插机构和送秧机构的相互配合需要,分为间歇移箱和连续移箱两种型式。间歇移箱是当秧爪进入秧帘至将秧苗分出秧箱一定距离之前,以及对准式送秧叉进入秧箱送秧直至完全退出秧箱之前,秧箱静止;当秧爪把秧苗分出秧箱一定距离之后,及送秧叉完全退出秧箱之后,秧箱按需要横移相当于秧爪取秧宽度的距离。适用于拔取苗插秧机。由于运动间歇,秧箱有一定的震动。连续移箱是秧箱等速缓慢移动,在分插机构完成一次插秧行程的时间内秧箱移动相当于取秧器的取秧宽度。适用于不必配备秧帘及采用整体送秧的带土苗插秧机。运转平稳、省力。

移箱器按结构分转盘齿条式和螺旋轴式两种。

转盘齿条式移箱器

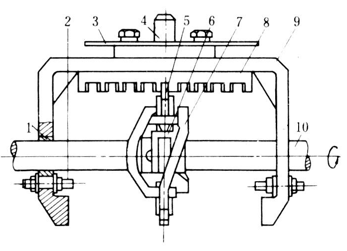
属间歇移箱机构,其结构如图1。移箱器工作时,由移箱器轴带动移箱盘转动,换向器螺旋面推动齿条移动1齿,移箱插头带动秧箱横向移动一个移距。当移箱结束,移箱盘体嵌入齿条时,秧箱就不再横向移动,起秧箱定位作用。移箱盘每转1周,秧箱移动一次。当齿条移到最后一个齿时,齿条架下端部的顶开销将移箱盘上的锁定卡顶开。齿条架尾部的换向头将换向器推向另一侧。锁定卡在锁定压簧的作用下,卡住换向器,齿条架即改为由另一方向的螺旋条推动往相反方向移动。

图1 转盘齿条式移箱器

转盘齿条式移箱器移距准确,定位可靠,移箱省力。适用于拔取苗机动插秧机。

螺旋轴式移箱器

螺旋轴式移箱器由带有左右螺旋槽的螺旋轴、与秧箱连接的指销及螺旋轴的传动机构组成(图2)。螺旋轴由齿轮传动连续移箱,转过一定的角度,指销在螺旋槽内横向移动相应的距离,带动秧箱作横向送秧。改变传动速比,可以调节秧爪每取秧一次的相应移箱距离。移箱两端的停歇可在螺旋槽两端留出一次移箱的转角范围的直槽解决。这种移箱器装设间歇机构也可用于间歇移箱。

送秧器

按送秧范围和送秧时间分为对准式和整体推送式。为了提高对带土苗的送秧能力,日本有采用橡胶输送带作纵向送秧的新机型。在秧箱下部约占1/4秧箱长度的范围安装有几乎等于秧箱内宽的带橡胶钉刺的橡胶输送带,当输送带向前运动时即可带动秧苗前送。但制造成本较高。

图2 螺旋轴式移箱器

对准式送秧器

结构如图3。在秧爪取秧的宽度范围,秧爪每取秧一次相应送秧一次。送秧叉由曲柄连杆机构带动。当曲柄等速回转时,通过连杆带动摇杆上的送秧叉作往复运动。当移箱器移箱时,送秧叉退出秧箱;送秧叉送到秧箱最前点并开始后退一定距离后,秧爪进入秧箱取秧。为适应不同秧苗和调整送秧量,送秧叉与秧箱底板的垂直距离即送秧高度和送秧叉的前止点位置是可以调整的。适用于拔取苗插秧机。

图3 对准式送秧器

整体推送式送秧器

送秧齿板装在秧箱底部连同秧箱一起移动。当移箱至两端极限位置,即最前面一排秧苗被取完时,由与移箱器联动的机构驱动送秧齿板转动一个角度,推送秧苗至秧门前端挡板处。调节送秧齿板的转角大小可以获得所需的送秧量。适用于带上苗机动插秧机。

对人力拔取苗插秧机亦可通过增加秧箱倾角或加压秧板等重物实现整体推送秧苗。