登录| 注册    
收藏  点赞 

液肥追肥机

为旱地作物或水稻追施液氨或氨水的机具。液氨是一种高浓度的氮肥,由氨气液化而成,含氮量82.3%,其沸点为-33℃,在常温下(10~30℃)需在0.62~1.17兆帕压力下形成液态贮存、运输和施用,且随温度升高压力亦将增大。因此必须注意安全使用。氨水则为无压液肥,是氨的水溶液,含氮量17%左右。液肥的施用常采用旱田深施和溶水灌施,溶水灌施氨的挥发损失较大,采用液肥追肥机进行深施经济效益较好。

为旱地作物或水稻追施液氨或氨水的机具。液氨是一种高浓度的氮肥,由氨气液化而成,含氮量82.3%,其沸点为-33℃,在常温下(10~30℃)需在0.62~1.17兆帕压力下形成液态贮存、运输和施用,且随温度升高压力亦将增大。因此必须注意安全使用。氨水则为无压液肥,是氨的水溶液,含氮量17%左右。

液肥的施用常采用旱田深施和溶水灌施,溶水灌施氨的挥发损失较大,采用液肥追肥机进行深施经济效益较好。液肥的施用因均需特殊配套的储运和施用设备,使其推广使用受到限制。

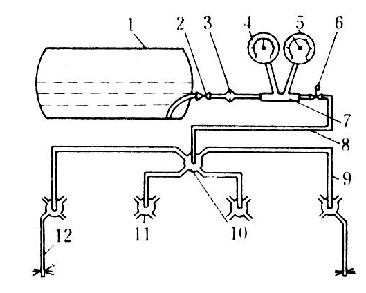
液氨施肥机主要由机架、液氨钢瓶、计量装置、分配器、开沟器组成。使用时依靠钢瓶的内压将液氨排出,其典型工作流程如图所示。即由液氨钢瓶经过滤、计量后分成多路(经一次分配、二次分配)施入土壤。钢瓶压力一般为1.57兆帕左右,液氨通过开关阀流入耐压橡胶管和金属高压管,经针形阀进入分配器后压力下降,减压后的液氨通过各支管,注入开沟器施入土壤。其中计量装置由流量管、氨压表、控制阀组成,通过测量压差计算控制排液量。

液氨施肥机流程系统图

氨水施肥机主要采用重力自流式工作原理,即液肥桶中经过过滤的氨水,借本身重力和大气压力,由出液管流出,经液量调节阀、分液管、开沟器施入土壤中。