登录| 注册    
收藏  点赞 

植保机械用液泵

在各种喷雾机和喷雾喷粉机上用于将机械能转变为药液压力能的部件。其作用是提高药液压力,克服管道阻力,使药液连续经喷枪或喷头雾化而喷洒到目标物上。液泵还用于大型喷雾机药液箱的加水和供给液力搅拌器所需的压力液体。由于常是移动作业,要求重量轻、转速高。工作介质一般是药液,泵与药液接触部分应耐腐蚀

在各种喷雾机和喷雾喷粉机上用于将机械能转变为药液压力能的部件。其作用是提高药液压力,克服管道阻力,使药液连续经喷枪或喷头雾化而喷洒到目标物上。液泵还用于大型喷雾机药液箱的加水和供给液力搅拌器所需的压力液体。由于常是移动作业,要求重量轻、转速高。工作介质一般是药液,泵与药液接触部分应耐腐蚀,故常用材料为铝合金、铝合金涂覆塑料、塑料、铜、钢和不锈钢等。

常用植保机械配套的各种风机技术参数范围

类型及技术参数

植保机械常用的液泵有活塞泵、柱塞泵、活塞隔膜泵、滚子泵、离心泵等。也可应用旋涡泵、射流泵和挠性转子泵等。常用液泵的技术参数见下表。

植保机械常用液泵的技术参数

活塞泵

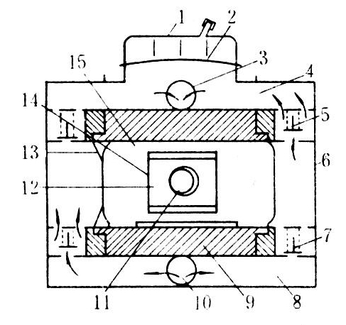
主要由活塞、泵缸、进液阀、出液阀、空气室、曲柄和连杆等组成。由活塞上的挠性件(皮碗或橡胶碗)保持活塞与泵缸之间的密封性。其工作原理如图1所示。当活塞由右极限位置向左移动时,进液阀关闭,活塞左侧泵缸的空间逐渐减小,缸内的药液受压而使压力升高。药液经出液阀流入空气室和出液截止阀,并由喷雾软管排出。在活塞向左移动的同时,活塞右侧泵缸空间逐渐扩大而形成低压,使药液通过吸液滤网和进液管进入泵缸右端。当活塞由左极限位置向右移动时,出液阀关闭,进液阀打开,活塞右侧药液通过进液阀流到泵缸的左侧,原来进入空气室的一部分液体继续向外排出。当活塞再次自右向左移动时,就重复排液和吸液的过程。调压阀用以调节排液压力。当该压力超过允许值时,部分药液通过调压阀流回到进液管路中去。

活塞泵在中、小型喷雾机中使用较多,有单缸、双缸和三缸等型式。单缸泵多用于手动喷雾器;双缸和三缸泵多用于机动喷雾机。往复容积泵需有安全阀和调压阀与其配套使用。此泵具有自吸能力,工作压力较高而流量较小。

图1 活塞泵工作原理图

活塞泵的阀门分为平阀、锥阀和球阀三种。球阀中圆球的支承面较窄,易与阀门座紧密配合,工作可靠,在手动往复泵上采用较多;机动往复泵转速较高,常采用弹簧顶压平阀门。活塞泵的气室是为了稳定工作压力和减少管路系统的振动,常装在出水室附近,常用空气室有空腔式和隔膜式。空腔式是一个具有一定空间的耐压容器,在压力药液进入后,可使其存贮在上部的空气受到压缩,具有稳压作用。隔膜式则是在空气室的中部装有弹性隔膜,将空气室分成上、下两部分,上半部注入规定压力的压缩空气,起到稳压作用,并可相应缩小空气室的容积。这种结构,由于空气与药液隔离,不会发生空气逐渐溶入药液的现象,可保持空气量的稳定。随着转速的不断提高,液泵每一行程排液量相对减小。此类泵有取消空气室的趋向。压力指示器是用来指示液泵排出药液压力的大小,是一种常规压力表的代用装置,在工作中不易失效,但存在指示压力不够精确的缺点。

柱塞泵

主要由柱塞、泵缸、进出液阀门和空气室等组成。柱塞和泵缸之间采用密封圈或填料保持其密封性。其工作原理与活塞泵相同。显著的优点是可方便地在外部调节填料的压紧状态,以消除柱塞处的泄漏。20世纪80年代,有些国家在植保机械用液泵上采用工业陶瓷做柱塞和进排液阀,大大提高了柱塞泵(还包括活塞泵)的性能,使泵转速由800~1000转/分,提高到1500~1800转/分;进出液阀门采用组合式阀门,使泵结构紧凑,寿命达2000小时左右;密封件采用氟橡胶和弹簧预紧结构,提高了泵性能的稳定性和可靠性。

活塞隔膜泵

主要由活塞、隔膜、泵缸、进出液阀门和空气室等组成。与活塞泵、柱塞泵结构的主要区别是在活塞外面放一个橡胶隔膜把活塞与药液隔开,使活塞浸在润滑油内运动,不易磨损。两缸双作用活塞隔膜泵的工作原理如图2所示。当活塞在泵缸内向右移动时,隔膜也随之右移,其工作原理与活塞泵相同。与活、柱塞泵相比,活塞隔膜泵的结构较简单;其活塞不接触药液,不受药液的腐蚀,磨损较小。

图2 两缸活塞隔膜泵工作原理图

20世纪70年代大多数欧美国家喷雾机已配用此类型泵;80年代初中国开始生产,并有系列产品。需安装安全阀、调压阀和空气室等部件,并具有自吸能力。由于隔膜的存在,泵的容积效率随吸水高度的增加而减小,故要求泵的安装尽量靠近水源。隔膜是该泵的主要易损件,按其与活塞的连接方式,可分为强制式和非强制式隔膜两种。隔膜的寿命较短,一般在500小时左右。由于隔膜强度原因,常用工作压力比同级活、柱塞泵略低。泵有单缸、双缸和多缸,单缸多用于手动喷雾器。两缸以上常用于机动喷雾机

滚子泵

主要由转子、泵体和滚柱等组成(图3)。转子是径向开有4~8个槽的圆柱体,每个槽内装一个直径等于槽宽的滚子,转子与泵体内壳有一个偏心距,当转子高速旋转时,滚子在离心力作用下,紧贴着泵体内壳表面,并与泵体、转子和泵盖组成密闭工作室,该室容积大小随转子转角不同而变化。当容积由小变大时,工作室形成低压区将药液吸入;当容积由大变小时,将药液压出。

图3 滚子泵工作原理图

滚子泵体积较小,结构简单,能适应拖拉机动力输出轴转速,排量在转速稳定时是均匀的,随着压力的增高,泄漏量增加,泵的排量及容积效率也随之降低。其排量Q=πηbn(升/分)。式中π为圆周率;b为转子宽度(分米);e为偏心距(分米);n为转子转速(转/分);Z为滚子数;r为滚子半径(分米);R为滚子室半径(分米);η为容积效率(一般为0.9)。滚子泵需要安装安全阀和调压阀,有自吸能力。

有些国家的产品在泵体和泵盖内侧电镀耐磨材料或抗腐蚀的高镍合金,滚子用聚丙烯、尼龙、特氟隆和丁腈橡胶,密封件用氟橡胶等材料,使泵的性能稳定性和寿命都有提高。

离心泵

主要由叶轮、泵体和泵轴等组成。泵轴端固定叶轮,轴与泵体之间的间隙是用密封圈和填料来保持密封性的。离心泵结构简单,工作可靠,压力稳定,使用维修方便,能输送具有腐蚀性的药液。但不能自吸,起动前应在泵壳内充满液体才能工作。因此,常把此泵安装在药液箱下部,进行自灌液,或采用废气引水装置和采用自吸式离心泵。离心泵的压力较低,流量较大,常用于对工作压力较低的喷雾机和飞机喷雾上,也用于药箱的液力搅拌和加水。

液泵选择

泵的流量和压力是选择的主要依据。但其流量和压力取决于喷头的型式和布置,而喷头型式和布置又取决于作业种类、施药量、喷幅和行走速度等因素。此外,药箱如需液力搅拌,还要加上液力搅拌器的流量。一般泵的工作能力应大于实际需要的20%。