登录| 注册    
收藏  点赞 

刨花拌胶

液体胶料及添加剂按预定配量与刨花混合的过程。是刨花板生产中一个重要工序。胶粘剂用量对刨花板的质量和生产成本有很重要的影响。因此,对于刨花施胶一方面要求胶料在刨花表面分布均匀,胶层薄而覆盖面积大;一方面要求胶料组分配量正确,力求产品质量高而稳定。为此,在生产中需要合适的拌胶设备,以及能够使胶、添加剂及水三者之间一直以正确配量与刨花混合的自动调节系统。

液体胶料及添加剂按预定配量与刨花混合的过程。是刨花板生产中一个重要工序。

胶粘剂用量对刨花板的质量和生产成本有很重要的影响。因此,对于刨花施胶一方面要求胶料在刨花表面分布均匀,胶层薄而覆盖面积大;一方面要求胶料组分配量正确,力求产品质量高而稳定。为此,在生产中需要合适的拌胶设备,以及能够使胶、添加剂及水三者之间一直以正确配量与刨花混合的自动调节系统。

拌胶设备

对于不同形态的刨花,如普通型刨花、细刨花、大片刨花、华夫刨花等拌胶,所用设备各有要求。例如,为了防止大尺寸刨花在拌胶操作中被搅碎而采用的鼓式拌胶机,以及能够使刨花流中粗细刨花吸收б较合理的胶量所采用的风式拌胶机等。图1所示的是现代普通型刨花拌胶最流行的一种拌胶机。它以高速旋转的搅拌桨使刨花与胶液摩擦而使胶料转移及胶层厚度趋于均匀。胶液有从侧面喷入、轴中向外喷出和从壳内用管子直接加入等几种方式。由于桨叶高速旋转,需要用冷却水冷却轴及桨叶,避免刨花在拌胶中温度升高而致胶料提前固化。刨花在机内滞留时间只有几秒钟,虽然经过高速搅动并相互摩擦但因碎裂而使刨花规格变小的程度不大。

图1 透平桨叶式拌胶机内部构造

胶/木配置比的自动调节系统

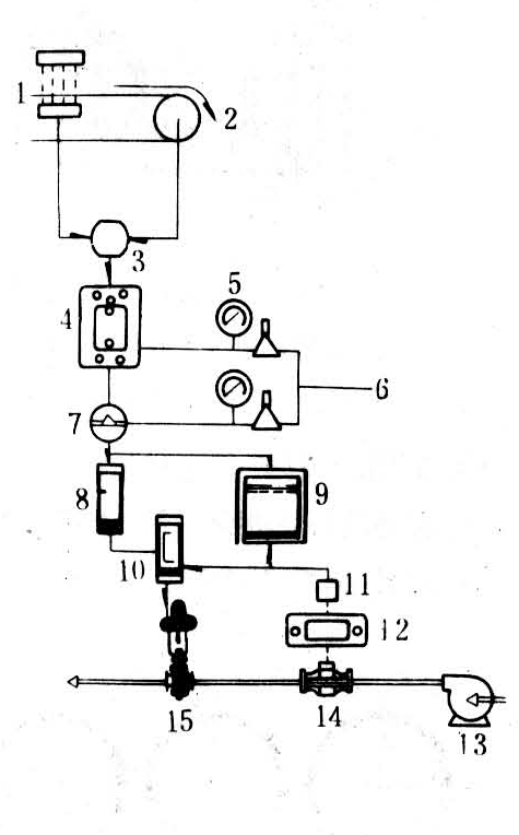
刨花拌胶过程中,为确保胶料及添加剂(如石蜡乳液、固化剂、缓冲剂等)对加入的刨花保持正确而恒定的配量,就需一个有效的连续自动调节系统。图2是个简单的胶/木б自动调节系统的例子。它是一个单回路的定值调节系统。其原理是以刨花运输出来的重量×速度作为参变量,现今多数用电子皮带秤及皮带速度以获取这个变量,通过定值调节按一定б例调节进胶流量。由于采用气动自控仪表,必须将由自动检测仪表所获得的电量转换为气压量,因此加入若干电—气转换器。胶泵所输出的胶液,其胶、添加剂及水量都已预先配定。这种调节方法未反应出刨花含水率变动所产生的胶/木б的误差,因此,在工厂生产中有条件设置精确的调节方法的是增加一个回路,由铺装板坯处检测板坯含水率的电讯号反馈到加水泵的调节器中。

图2 气动胶/木比调节系统

拌胶机