登录| 注册    
收藏  点赞 

上线器

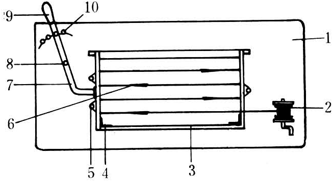
又名巢框上线板、巢框穿线器。以800×350×25毫米的平木板为座板,在其中央按巢框内围尺寸428×202毫米的大小,四角嵌入角钢,用以固定巢框。在距巢框两侧条10毫米处,分别安有直径为15毫米、高28毫米能转动的圆柱,左二右一,位置都在框线的转角处,用以输送框线(见图)。右下角有一线轴

安装框线的工具。又名巢框上线板、巢框穿线器。以800×350×25毫米的平木板为座板,在其中央按巢框内围尺寸428×202毫米的大小,四角嵌入角钢,用以固定巢框。在距巢框两侧条10毫米处,分别安有直径为15毫米、高28毫米能转动的圆柱,左二右一,位置都在框线的转角处,用以输送框线(见图)。右下角有一线轴,在轴筒上绕有框线。左边设有一杠杆(木柄),使用时,将杠杆弯曲的一端顶向左侧条,使侧条稍向内弯曲。上线时,把线轴上的框线按图示箭头穿好,转角处都要绕过圆柱,把线头钉在右侧条上方。用手拉紧框线,同时将框线从圆柱上移下,并转动线轴,回收多余的框线,逐渐把框线再次拉紧,直至用手弹框线时能发出清脆的声音为度,再将末端线头钉牢在右侧条下方。最后将杠杆弯曲端离开左侧条,左侧条在弹性作用下恢复原状,使框线更紧。为防止框线拉紧而揳入木材,侧条的所有小孔最好都嵌上金属眼。(吴本熙 吴发辉)

上线器构造示意图

工蜂神经系统