登录| 注册    
收藏  点赞 

果干

果品预处理后除去多余的水分,保持一定形态所制成的一类水果加工品。果干加工保持果品原有风味,糖渍品和腌制品不属于此列。果干的加工过程称果品干制,依其热源有自然干制和人工干制。自然干制利用天然热源,除去果品中的水分,通常有晒干、阴干、风干等法。人工干制采用人工热源,以空气、烟道气等作为传热介质,在有控制的条件下,不断排除传热介质,完成干燥过程,而自然干制不用人工排除传热介质。

果品预处理后除去多余的水分,保持一定形态所制成的一类水果加工品。果干加工保持果品原有风味,糖渍品和腌制品不属于此列。果干的加工过程称果品干制,依其热源有自然干制和人工干制。自然干制利用天然热源,除去果品中的水分,通常有晒干、阴干、风干等法。人工干制采用人工热源,以空气、烟道气等作为传热介质,在有控制的条件下,不断排除传热介质,完成干燥过程,而自然干制不用人工排除传热介质。

果品干制生产成本低,技术简单,制品不易变质败坏,食用和携带方便,是水果的主要加工保藏方法之一。荔枝、龙眼、枣、葡萄、柿、杏、李、苹果等干制品均深受欢迎,有些已是著名特产。

食品干制历史悠久,中国北魏《齐民要术》即提到食品干制的方法,《本草纲目》、《群芳谱》等古籍还谈及了桃、枣等果品的干制,都属于自然干制。人工干制据克鲁斯(W.V.Cruess)记载最早在1890年美国开始用隧道式干制法干制李干。

干制保藏原理

干制的保藏作用在于降低水分含量,降低果品本身的水分活性(同温度下,食品表面的水蒸汽压与纯水的蒸汽压之比)。食品水分愈多,水分活性越大。水分活性接近于1时,各种微生物均能生长繁殖,酶活性高;食品中水分含量低,溶质含量高,水分活性小,微生物难以生存。果干通过包装保持干燥状态,使微生物及昆虫等失去生存的条件,同时也降低了本身的酶活性,抑制酶促与非酶促化学反应。一般含水量15~20%的果干,水分活性值在0.60~0.65,除部分耐渗酵母和极少数耐干霉菌外,其余微生物不能生长繁殖,果品内的化学反应受抑制。

新鲜果品的水分有自由水、结合水和化合水之分,干制除去自由水和一部分结合水。干制时水分的散失包括水分由果块中间向外部的转移和表面的水分蒸发。典型的干燥过程分恒速阶段和降速阶段。前期表面水分充足,干燥速度决定于干燥介质的温度、相对湿度及流速,速度快而恒定。后期表面水分损失,干燥速度取决于内部的水分扩散,干燥速度下降,外部介质的相对湿度低于100%,主要限制因子为蒸发面上的水分量。

果品干燥速度受4种因素影响:①果品特性。如质地紧密或外皮蜡质厚的干燥速度慢,含糖量高的速度慢。②处理方法。如切块大小、形状、浸碱处理等,适当的切分和进行浸碱处理有利于增加干燥速度。③干燥介质的特性。如流速快、温度高、相对湿度低时干燥速度快;④干燥设备的特性有不同的影响,载车或输送带的装量与干燥速度成反比。

果品干制后体积缩小了65~80%,重量减轻80~90%,形状则由于受热的均匀与否而各异。干制后透明度增加:因水分蒸发而糖、酸含量相对增加;视不同种类与品种发生不同程度的非酶褐变和酶褐变;维生素C不同程度地损失;叶绿素和胡萝卜素发生变化,绿色水果发暗,黄色果会部分褪色。

工艺过程

自然干制和人工干制略有不同,主要在于原料挑选与预处理、干制、干后处理等过程。

原料挑选与处理

干制果品原料要求含较高的干物质和可溶性固形物,粗纤维少,质地好,风味浓郁。要求达到鲜食成熟度。预处理有挑选、分级、洗涤、去皮、切分、去核、烫漂、硫处理、碱处理等。大部分处理的目的与方法均同罐藏(见果品罐头)。硫处理有促进干燥、改进干制品色泽、保持维生素C及延长制品保存期的作用。方法有浸渍法和熏蒸法,浸渍法即将切分后准备干制的果品浸于一定浓度的酸化亚硫酸或亚硫酸盐溶液中经一定时间后取出,浓度为1~3%的亚硫酸盐,时间为10~20分钟。熏蒸法即将果品在密闭的容器或房间内用燃烧硫磺的方法进行熏蒸,熏硫室浓度维持在1.5~2.0%,1吨果品用硫磺粉2~4千克。干制前的浸碱处理有助于干制的进行,依原料种类和成熟度,碱液的浓度在0.2~5%,时间在几秒至几十秒不等。

干制方法

包括自然干制和人工干制两种方法。自然干制是将处理好的果品放在晒盘或其他器皿内晒干,也有晾干,有些要进行堆聚、摊晒等处理。果干的干燥终点含水量随种类品种和加工方法略有差异(见表)。

几种果干的含水量

人工干制设备和方法较多,依介质大致有:

空气对流干燥

具体方法有烘灶、烘房、隧道式干燥设备、输送带式干燥设备、气流干燥设备、流床化干燥设备等。

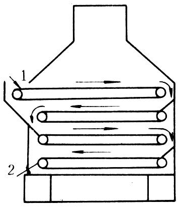
图1 烘房示意图

烘灶、烘房等仍是中国荔枝、龙眼、枣干制的主要设备。烘灶用木炭等作燃料直接加热,在地上挖灶坑状,上放木檩、铺筛席,果品在筛席上接受燃料直接加热而干燥。烘房的建筑式样很多,主要有烘房主体、升温设备、通风排湿设备和物料装载系统组成(图1)。

隧道式干燥设备在果品干制中应用最广,凡保持果块形状的果干均可应用。设备主体由干燥隧道、加热部分、通风排湿装置与运载设备构成(图2、图3)。根据设备内气流与干燥物料的走向有顺流式、逆流式和对流式(即顺流与逆流的结合,又称复式或混合流)3种。顺流式干燥车上物料前进方向与干热空气流动方向一致,果品首先接触为高温低湿热空气,果品升温快、干燥速度大,随干燥进行,进入低温高湿环境,最终干燥终点不易控制低水分含量,适用于水分含量高的果品。逆流式干燥果品从低温高湿介质走向高温低湿介质,终点含水量低,适于大部分果品。对流式干燥结合了顺流和逆流干燥的优点,克服了各自的缺点。

图2 逆流式干燥设备

图3 对流式干燥设备

连续输送带式干制机中物料在输送带中运行,输送带的设计为多层形式,使各层的物料在转换中可翻动。整个机械用蒸汽加热,安装于每层传送带之间,新鲜空气由底部进入,湿气由上部出口排出,适用于连续生产(图4)。

其他的流床式干燥设备、气流干燥设备、柜式干燥设备等也用于果品的干制。

图4 连续输送带式干制机

滚简干燥

原理是将物料在缓慢转动和不断加热的滚筒表面铺成薄层旋转一周后水分蒸发,用固定的刮刀将干后物料刮下,仅用于浓缩果汁、果泥和果浆。

真空干燥

即在内有加热搁板的密闭容器内,减压下除去水分,适用于干燥低水分含量的特干果干,苹果、桃、杏、李等常由隧道式干制后,用此法干制至含水量5%左右。

冷冻干燥

在冻结的条件下,保持在三相点以下的低温中减压,使水分直接由固态变成气态而干制,因不必受热,制品质量高,但费用大。

干后处理

干后经挑选、分级、包装后即为成品。需均湿(又称发汗)的果干可将其置于密闭容器或仓库内贮存一段时间,使果块内部水分及不同果块(粒)之间的水分进行扩散和重新分配,达到一致。为防止贮藏中虫害和保持品质,成品包装前进行熏硫,使制品中保持一定的二氧化硫,一般要求李1530~2600ppm、桃1320~2460ppm、梨1033~1607ppm、淡色葡萄干805~1450ppm、苹果900~1500ppm。还可用甲基溴处理或用二硫化碳等熏蒸。防虫也用低温、热处理或其他方法。某些晒干的果干如葡萄干等需清洗、再干燥后包装。

果干包装要求包装材料不透气、光、坚固耐牢、美观大方、物美价廉,还要求无毒、无异味,携带和开启方便。常用的有塑料及复合薄膜,如聚乙烯袋、聚乙烯-铝箔-聚酯薄膜复合材料、纸-聚乙烯-铝箔-聚乙烯等。果干用上述袋作销售包装,也有套用纸盒作外包装,再装于瓦楞纸箱。也有大包装用作其他食品的加工原料。

果干最好在低温(0~5℃)、低湿(50~60%)下贮藏,同时注意避光、隔氧和防虫等。

主要果干加工要点

荔枝、龙眼

二者均系中国特产。其中龙眼的干制品称桂圆,原料选果大、肉厚、核小、干物质和含糖量高的品种。荔枝要求果壳厚度中等,成熟度要求成熟。龙眼干制先经剪蒂、挑选、磨光果皮,在烘灶上用炭火加热烘干,其时每隔4小时翻动1次,干后某些产品喷姜黄水染色。龙眼干燥率约30~33%。荔枝干制加工除不须磨光果皮和染色外,其余同龙眼。平均干燥率约25~30%。

中国的枣干制品有红枣、黑枣和南枣。原料要求果大、皮薄、肉质丰厚、核小、含糖量高。红枣干制选用成熟果,适度热水烫漂后太阳下曝晒而成,其间注意晚间回拢和白天复晒。干燥率约30%。黑枣加工需用人工熏黑。南枣选用略红色或转白色果实,热水中烫漂1~2分钟,装满箩筐或堆集于一处覆以草席或麻布,约2小时后摊开晒干或烘干。

葡萄

原料选用皮薄肉厚,中等大小,可溶性固形物达20°以上的成熟果穗,最好无核。干制时整穗果除去烂果、次果后,用1.5~4.5%的氢氧化钠溶液处理1~5秒钟,洗净后于晒盘内日晒3~5天后翻晒2~3天,阴干。中国新疆吐鲁番地区也有将葡萄果穗挂于通风室内风干,制品质量高。人工干制逆流式隧道干燥设备初温45~50℃、终温70~75℃、相对湿度25%以上,干燥终点含水量18%。产品需回软、脱梗、清洗、分级后干燥包装。

制品为柿饼。选中等大小的高圆形果,果肉粘质,成熟度在颜色变黄红但肉质坚硬不软为度。选无病虫果,分级,除萼片,保留果盘和果梗,麻绳系果梗成串或不成串,晒20天左右,揉软,重复晒2次,压扁后晒半月,其间晚间移至室内,盖草席,重复2~3次即会生霜。

苹果

选中等大小、未发绵、风味浓、褐变轻的品种,分级,去皮后去芯,切成5~7厘米厚的圆片,蒸烫2~4分钟,熏硫1~2小时。逆流干制初温80~85℃,终温50~55℃、相对湿度10%。

选离核、黄肉,粗纤维含量少的品种果实,切半、去核、碱液去皮,蒸汽烫漂5分钟,熏硫1小时。人工干制初温55℃、终温65℃,相对湿度30%。自然干制时延长熏硫时间,晒干。

用大果或中等大小色泽深黄果,粗纤维含量低且充分成熟,切半、去核(也有不去核)后切面向上于晒盘中熏硫3小时以上,太阳下晒至5~7成干后阴干。人工干制初温50℃,终温75℃,相对湿度10%,含花青索的杏干色泽以晒干为好。