登录| 注册    
收藏  点赞 

活鱼运输装置

在活鱼运输中鱼类保活的专用设备。影响活鱼成活的因素主要是水中的含氧量、水温和水质。含氧值必须在3毫克/升以上。水温升高,鱼的耗氧量增加,而微生物的繁殖却加快,促使水质变坏。由于活鱼运输的装运密度很大,其排泄物和代谢积累非常迅速,使水中的二氧化碳、氨氮等含量及pH值在短时间内超过鱼类生存允许值。因此,必须进行换水或对水体进行净化处理。中国的活鱼运输装置一般可分为汽车、火车和船用三类。

活鱼运输中鱼类保活的专用设备。影响活鱼成活的因素主要是水中的含氧量、水温和水质。含氧值必须在3毫克/升以上。水温升高,鱼的耗氧量增加,而微生物的繁殖却加快,促使水质变坏。由于活鱼运输的装运密度很大,其排泄物和代谢积累非常迅速,使水中的二氧化碳、氨氮等含量及pH值在短时间内超过鱼类生存允许值。因此,必须进行换水或对水体进行净化处理。中国的活鱼运输装置一般可分为汽车、火车和船用三类。

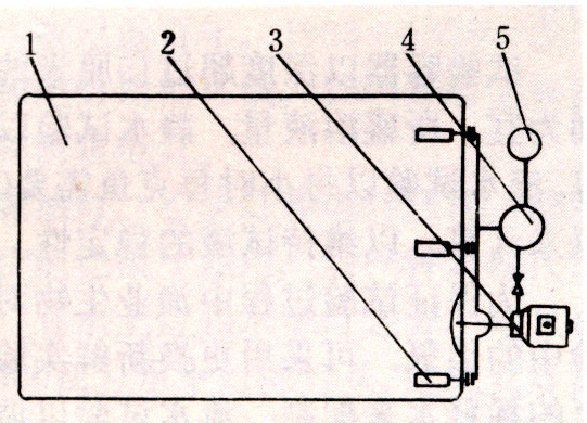
汽车活鱼运输装置 主要由载鱼箱体和增氧设备组成。载鱼箱体一般用钢、铝、不锈钢或玻璃钢等材料制成。鱼箱容积一般以2立方米左右为宜,或者将鱼箱分隔成若干个小格。在箱体的后端下方,一般都装有排污水阀和卸鱼阀。箱体结构可分敞开式和封闭式两种。敞开式箱体的顶部开有长方形窗口,用以装鱼入箱。窗口上有一个可移动的网状窗盖。这种型式有利于水体中二氧化碳等有害物质的挥发,适宜与射流式、充气式和喷淋式增氧设备结合使用。封闭式箱体顶部开有一个圆形或方形装鱼口,口上设置密封盖,一般适合于纯氧增氧,以提高氧的利用率。喷淋式增氧设备由水泵和喷淋水管组成(图1)。水泵将鱼箱底层水抽吸到鱼箱顶部的喷淋水管,水从该管的狭缝中呈薄膜状高速喷出,充分接触空气,把空气中的氧溶解于鱼箱水中。射流式和充气式增氧设备见增氧机。乳化液增氧设备由水泵、氧气瓶、溶气罐、释放器、阀件组成(图2),水泵把鱼箱中的水抽到溶气罐内,同时打开氧气瓶内的减压阀将氧气缓缓地送入溶气罐内形成一定的压力,使罐内的水变成高含氧量的水,然后,再通过特制的释放器阀释放到鱼箱内。由于释放出来的水呈乳化状(亦称乳化液)并产生大量的微气泡,鱼箱中的悬浮颗粒与微气泡接触时,就吸附在微气泡表面,降低了颗粒的比重,从而随气泡上浮形成浮渣,起到了一定的净水作用。

图1 喷淋式增氧装置示意图

火车活鱼运输装置 由容器、增氧、水净化设备、降温设备和柴油发电机组等组成。容器由金属支架和帆布袋构成。一般一个车箱内放两个容器。在两个容器的中间安装增氧、水净化、降温和柴油发电机组等设备。增氧设备一般与汽车活鱼运输装置相似。水净化设备一般由一台水泵和一个水净化器组成。水净化器有三种形式:一种是电凝聚过滤净化器。它由电凝聚器和过滤装置两部分组成。电凝聚器由若干块铝板作电极,装在矩形箱内,当直流电源通过接线柱,流入铝板电极时,在铝板之间形成电场,该电场有助于新陈代谢产物的分子凝结。过滤装置是圆柱形桶,内装有两个不同大小的网状圆筒。小网状圆筒外侧包一层泡沫塑料。当水泵把鱼箱内的水抽送至电凝聚器内时,水中悬浮的和胶态的代谢物得到凝聚,然后随水流入过滤装置,凝结的微粒受到阻拦,被净化了的水返回鱼箱。第二种是由旋液分离器、静电吸附粒子过滤、微孔管过滤桶和旋转反冲装置等组成。水泵把鱼箱内的水抽到锥形旋液分离桶时,在离心力的作用下,水中较重的物质就沉到下面的集污箱内,经分离器后的水由下而上地进入静电粒子吸附层。这些微小粒子具有一定的静电吸附作用,就截留了水中粘状物质。然后,水通过顶部的滤水帽流入装有微孔管的桶内。经过滤后变得十分清净,再经水管流入箱内。第三种是用沸石、活性炭、泡沫塑料作为滤料净化水质。降温设备一般采用氟里昂为致冷剂,通过蒸发器的热交换,降低鱼箱内的水温。

图2 乳化液增氧装置示意图

船用活鱼运输装置 其组成与火车活鱼运输装置相同。增氧设备一般采用充气式或射流式,尽可能选用体积小、重心低的设备。此外,还有采用飞机运送活鱼和其他水产品的装置,一般装入盛水尼龙袋充入纯氧后密封装箱运输。