登录| 注册    
收藏  点赞 

昆虫标本

经采集、毒杀、制作、加签等一系列方法和步骤固定下来的昆虫个体,备作昆虫学研究的对象和材料。昆虫标本的取得,一般需经采集、制作、保存、寄运等过程。采集昆虫学工作者,必须从自然界采集大量昆虫供研究用。由于昆虫种类不同,习性各异,也由于研究目的不同,因而采集方法和工具也有所不同。主要工具有诱虫灯、捕虫网、趋光分虫采集箱、毒瓶、烤虫筒和洗虫箱等及野外临时保存用具:三角纸袋和棉层纸包。

经采集、毒杀、制作、加签等一系列方法和步骤固定下来的昆虫个体,备作昆虫学研究的对象和材料。昆虫标本的取得,一般需经采集、制作、保存、寄运等过程。

采集

昆虫学工作者,必须从自然界采集大量昆虫供研究用。由于昆虫种类不同,习性各异,也由于研究目的不同,因而采集方法和工具也有所不同。主要工具有诱虫灯、捕虫网、趋光分虫采集箱、毒瓶、烤虫筒和洗虫箱等及野外临时保存用具:三角纸袋和棉层纸包。

制作

对采集的大量昆虫个体,需经制备和整理,制成标本,以备研究鉴定用。因昆虫种类、虫态等的不同,制作标本的方法也有所不同。

成虫标本制作

一般有回软、针插、展翅或整姿、加签四步。

回软

杀死时间稍久的昆虫由于变硬发脆,制作前需经回软;刚死成虫,可以不经回软,立即制作。其方法是:将干燥标本放入回软缸(常用干燥器)中部的多孔玻璃板上,缸底置洗涤干净的细沙,加入清水,漫过沙面,水中滴入少量石炭酸或甲醛溶液以防生霉。经数日,标本即可回软。个体较小的昆虫。可放入铺有干净细沙的玻皿(如培养皿)中,以及潮湿布层内,扣上玻皿盖或罩回软。

针插

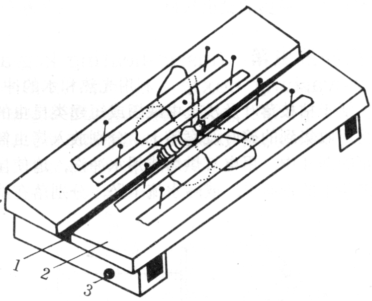
经回软的成虫,应先用昆虫针固定在特定的位置上,以便进行后续的整姿、展翅等步骤。对针插位置有严格规定。鳞翅目、蜻蜓目、膜翅目、双翅目等昆虫,昆虫针应插在中胸背板中央稍右侧;蝗虫、螽斯等直翅目昆虫,应插在中胸背板的后部,背中线的偏右侧,以免破坏正中线部位的特征;半翅目、同翅目昆虫,插在小盾片略偏右方,避免损伤胸部腹面的喙和口器槽;鞘翅目昆虫则宜插在右鞘翅的左上角,使昆虫针穿过胸部腹面的中足和后足之间(图1)。

图1 昆虫标本的插针位置及二重针的使用方法

展翅或整姿

为镜检翅脉及胸、腹部的特征,对有翅昆虫(鳞翅目、双翅目等)的标本,除针插外尚需展翅。展翅应在特定的展翅板上进行(图2)。在插入展翅板前,用三级台将标本定位于一定的高度,三级台的下二级用以测定标签高度。展翅时将已针插好的标本,固定在展翅板中央槽内,然后用毛笔或昆虫针按要求将翅拨至适当位置。前翅后缘较直的种类,以伸展到前翅后缘左右成一直线为度;而前翅后缘成弧形种类,则以后翅前缘左右成一直线为准。通常对蝶蛾类要求左右前翅后缘在一直线上。翅展到所要求位置的同时,用光滑纸条压覆翅上,以大头针固定,并进行整姿。

不需展翅的标本(如甲虫等)应该整姿。整姿有专用的整姿板。将在三级台上定好高度的针插标本插于整姿板,使昆虫腹面正好贴在整姿板上,整姿的主要部位是触角和足。触角短的可伸在头前,或左右分开;触角长的可向后顺在背上。足的整姿原则为:前足向前(前侧)伸,中、后足均向后(后侧)伸。

图2 展翅板和展翅方法

加签

制好的标本应附有上下两个标签:上签写明采集地点、海拔高度及采集年月日;下签写明寄主、环境及采集人姓名。如经鉴定的标本,则应再插上第三个标签,写明中名。学名及鉴定人姓名。新种正模标本中挑选最典型的一只,定为正模标本,用红标签;再选一只与正模完全相同,但性别不同作为配模标本,用蓝标签;如果同种标本在3个以上,可再挑选几只,作为副模标本,用黄标签。

幼期标本制作

卵、幼虫、蛹标本的制作可分浸泡。干制两种方法。

浸泡法

用75%酒精,或4%甲醛溶液浸制。使虫体经浸泡后不致变形,在浸泡之前,应先行固定,通用的方法有:对比较大的个体可先用水煮沸或将活虫直接投入沸水中至虫体伸直稍硬,然后趁热浸入保存液中。个体较小的种类,为防止材料丢失,可先放入装有75%酒精保存液的玻璃管中,用水浴锅加热,亦有同样效果。除上述溶液外,也可用80%酒精15份、40%甲醛溶液10份、冰醋酸1份配制的保存液保存。此配方对昆虫的内部组织有较好的固定作用,可作为保存供解剖昆虫的浸泡液。缺点是长期保存的标本易使颜色变深,有微量沉淀。体形大的供解剖用标本(如蝗虫、末龄家蚕幼虫)还可用注射器从活虫的节间膜注射4%甲醛溶液,使内部器官快速固定,而且虫体僵直。注射后的虫体立即浸入保存液。

干制法

选择肢体完整,最好是各龄幼虫后期外表皮较厚的个体,放在吸水纸上,用镊子拉破肛门,用小圆棍由头至尾滚压使内脏由肛门挤出;用镊子夹住空虫皮,将吹胀器尖端插入肛门,按动送气球,吹胀虫体,送入加热的玻璃罩内烘干。为防止标本被烤焦,可在灯罩内加入干细沙。烘烤时不断送气,随时调整虫体姿式。全干后从玻璃罩内取出标本,由肛门插入高粱秆或火柴棍,涂胶粘牢,外露的一端插在昆虫针上。或用一段软木拧上细铁丝,将吹胀好的标本粘在上面。干制标本只适用于普通教学、观摩和展览用,不能作研究用。

玻片标本制作

微小昆虫,及虫体局部细微结构,可封入玻片,供放大观察。经常使用的封片胶有:①加拿大树胶:只能用二甲苯稀释。制片时,从保存液中取出的材料,需经酒精(浓度逐增至100%)完全脱水,再用二甲苯脱去酒精及透明后,才能移到载玻片上加如拿大胶封片。这类玻片标本可永久保存。②阿拉伯胶混合液封片。适用于较小型昆虫的整体制片。用阿拉伯胶粉30克,蒸溜水50毫升,甘油20毫升,水合氯醛200克制胶液。配制时,先以胶粉加蒸溜水,搅拌、水浴加温至胶粉完全溶解,再徐徐加水合氯醛搅拌,最后加甘油搅拌,趁热倒入有色细颈瓶中,放入60℃恒温箱中用玻璃绵过滤,24小时后,吋取出保存在不见光的环境中备用。

制片时先将从酒精中取出来的材料,放入水合氯醛和酚的混合液中,水浴加温3~10分钟即可透明。然后将胶液滴在载玻片上的适当位置,从水合氯醛酚中取出标本,用滤纸吸去多余的酚液,移入胶内整姿盖片。使用此配方制片易掌握、透明、清晰,但水溶性胶液干固较慢,在潮湿环境中易于还潮变软。待胶液完全干固后,吋用不溶于水的加拿大树胶涂于盖片四周封闭。这类玻片不宜永久保存。

保存

制作好的标本,特别是经过鉴定已有学名的标本,应精心保管,严防虫、鼠蛀食及霉烂。临时保存用具有三角纸袋和棉层纸包,永久保存用具或设施有标本盒、标本柜和标本室(馆)。

野外采集经初步分类保存在三角纸袋或棉层纸包中的标本,应首先放入熏蒸器中进行药物处理,再装入消毒后的木箱或标本盒中,放置在专为临时储藏标本的房间内保存。已经制作好的加签标本,保存在特制的标本盒中,放入标本柜永久保存。

标本柜、标本盒的种类很多,规格各异.取决于标本的用途、使用者的习惯等。国际上无统一规定。例如,作为研究工作使用的标本盒,法式规格有两种:大盒42×29×5.4(厘米),小盒为大盒的1/2,可与大盒并列存放。另一种书式标本盒,用木材制作,盒厚9厘米,从中间开启,两面都可插放标本。作为案头临时存放标本工具,可与书籍同时插入书架,整齐美观。

对入柜标本,要严格防虫、防潮、防菌、防日光直晒,定期检查和药剂处理。对进入标本室的人员和标本借用手续应有严格规定。标本已受潮发霉,不能用日光直晒或高温烘烤,否则会褪色、走油。宜放在通风干燥处晾干,或用毛笔蘸少许二甲苯或氯仿,或酒精、石炭酸(7∶3)配制的溶液,轻刷清理,晾干后收藏。(见彩图14)

寄运

临时收藏或制作好的标本,需经特殊处理和包装方可寄运。

寄运针插或展翅的成虫标本时,在寄运前要先用标本钳牢固地将昆虫针插在标本盒内。虫体大,附肢长的种类,应用昆虫针将腹部及四肢交叉支撑好。鞘翅目等体型大和无鳞片的种类,可用脱脂棉将标本四周填实。用三角纸袋或棉层纸包包好的标本,直接装入寄运盒中,四周衬泡沫塑料板防震。

装有针插标本的标本盒,要用较标本盒宽大些的木箱装运,四周空隙处,填以木丝或软塑料块等填充物,使标本盒保持在外箱的中心位置。使用泡沫塑料压制成的容器寄运更为安全。

指形管中液体浸泡的幼期及小型标本,寄运前应将管中保存液填满,或用脱脂棉填充,用封口胶封好瓶塞,以免运输途中因管内液体冲击或外溢,损坏标本。寄运前先用纸张将指形管分别包缠好,再装入牢固的木箱中,中间用泡沫塑料隔开,在四周用棉花或锯末填实。

不能用信封、软纸盒或外面没有木箱保护的软包装寄运,注意防潮、防火、防虫霉。寄运箱中不可放入有毒、有异味、油剂或影响标本完好的任何其他物品。寄运标本要有完整的标签,附有详细的编号说明。要求鉴定的种类要尽量多寄些个体,防止肢体损坏和备作比较解剖。同一种昆虫的各个虫态或寄主等有关材料,尽量交代清楚,以免无从辨认。寄运箱外面注明昆虫标本、防潮、防震、轻放等标记,提醒邮递运输人员给予关照。